王腾公司申请多枚今日宜休英文名商标
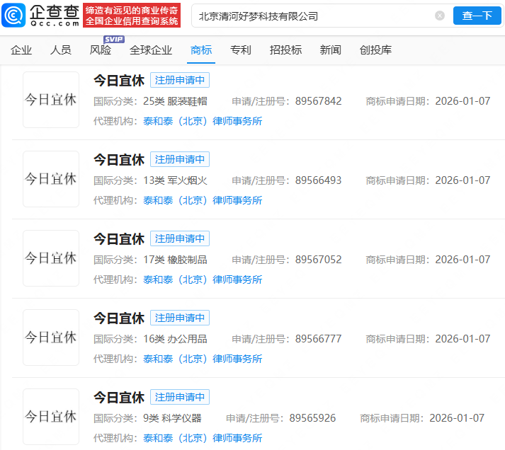
企查查APP显示,近日,王腾公司北京清河好梦科技有限公司申请注册多枚“ISHO”、“ISHO REST”商标,国际分类涉及通讯服务、珠宝钟表等,当前商标状态均为注册申请中。值得一提的是,今年1月,该公司申请注册多枚“今日宜休”商标,国际分类包括服装鞋帽、科学仪器等,当前商标状态均为注册申请中。


本文系作者个人观点,不代表本站立场,转载请注明出处!
企查查APP显示,近日,王腾公司北京清河好梦科技有限公司申请注册多枚“ISHO”、“ISHO REST”商标,国际分类涉及通讯服务、珠宝钟表等,当前商标状态均为注册申请中。值得一提的是,今年1月,该公司申请注册多枚“今日宜休”商标,国际分类包括服装鞋帽、科学仪器等,当前商标状态均为注册申请中。

